消防软管卷盘-软管的性能试验:
1、软管内径的检验方法按 GB 6246 规定执行。其中 D1、D2 如表 1 所示。
表 1 软管内径
单位为毫米
| 通规 D1 | 止规 D2 | ||
| 公称通径 | 极限偏差 | 公称通径 | 极限偏差 |
| 18.2 | +0.110 +0.070 | 19.8 | 0 -0.040 |
| 24.2 | 25.8 | ||
| 30.8 | +0.135 +0.085 | 33.2 | 0 -0.050 |
| 36.8 | 39.2 | ||
2、软管的爆破性能试验方法及外径膨胀率、轴向伸长率的试验方法按 GB 6246 规定执行。判断结果是否符合要求。
3、在软管任意点上做标记,测定标记点处的软管外径。使软管在光滑轴上缠绕一周,且使标记点处于缠绕段上。将软管一端夹在轴上,另一端悬挂质量为 4.5kg 的砝码,沿光滑轴线平行方向测定此时标记点处的最大外径,其结果应符合规定。内径为 19mm、25mm 的软管,光滑轴直径为 180mm;内径为 32mm 的软管,光滑轴直径为 250mm;内径为 38mm 的软管,光滑轴直径为 350mm。
软管外径增加率用公式(1)表示。

式中:
β——软管外径增加率;
d1——吊重前标记点处软管外径,单位为毫米(mm);
d2——吊重后标记点处软管最大外径,单位为毫米(mm)。
4、如图 1 所示,取长度为 1m 的软管,一头封闭,一头进水。进水端固定,使其不发生任何位移。在软管上做 A、B、C 三个标记点,位置分别为:B 点位于软管中间,A、C 各在两端距 B 点不小于 0.25m 的位置。在 30s~60s 的时间范围内加压至额定工作压力。软管扭曲时,标记处的原始直线将呈螺旋状。软管从 A 处画条直线与 C 的弧线相交于 C',测量 CC' 的弧长。
代入公式(2)后计算出扭曲值 T,判断结果是否符合要求。

式中:
T——扭曲值,单位为度每米(°/m);
s——CC' 的弧线长,单位为毫米(mm);
CC——C 处的周长,单位为毫米(mm);
Lo——A 与 C 间的距离,单位为米(m)。

图 1 扭曲值测定示意图
5、将软管缠绕在“3”规定的光滑轴上。按照使用环境温度范围中最低温度,置于低温箱内 10h,取出后立即展开并重新缠绕,判断结果是否符合要求。从最内层割取 1.2m 长的一段软管,置于室温环境下 1h,再在额定工作压力下进行水压试验,软管应无渗漏。
6、制作测试样品:50mm±1mm 正方形,厚 1mm±0.1mm 胶管试片,测试样品 4 个。采用精度不小于 0.001g 的电子秤对试样称重。将每个测试样品分别放入金属丝网笼中,置于 100℃±1℃ 高温箱内 24h,取出样品再次称重。
代入公式(3)后计算出热损失率 Δm,再计算出 Δm 的平均值,判断结果是否符合要求。

式中:
m0——试样原始质量,单位为克(g);
m1——试验后的试样质量,单位为克(g);
Δm——热损失率。
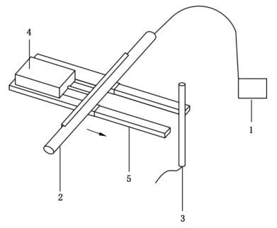
7、取长度为 0.5m 的软管,一头封闭,另一头进水。在软管圆周每隔 90° 做一个标记,一周四个标记为四个测试点。安装好软管,向内部注入温度为 15℃±5℃ 的水,排空空气后,将测试压力调至 0.7MPa。在室温下,将加热丝棒和软管的一个测试点连接。将丝棒移开软管,打开温度控制器调至 200℃±2℃ 测试温度。保持并记录整个测试过程的测试温度。加热丝棒以 4N±0.1N 的力垂直作用在软管的测试点处保持 60s,结束测试。在保证丝棒的接触区域是干净的情况下,测试软管的其他三个测试点。判断结果是否符合要求。

标引序号说明:
1——测试水泵;2——测试试样;3——加热丝棒;4——推力计;5——测试支架。
图 2 表面耐热试验装置示意图
8、热空气老化箱、软管试样制备及试验温湿度条件应符合要求。将老化后的软管按“2”规定测定其爆破性能,判断结果是否符合要求。
9、目测检查软管外观质量,判断结果是否符合要求。