气动管接头的试验项目和试验方法-「亿威仕」

气动管接头的试验项目和试验方法

0     编辑:亿威仕 | 市场部     2026-03-25    

气动管接头的试验项目和试验方法:

1、流量特性试验

按 GB/T 14513 规定进行。

2、泄漏试验

2.1 试件规定安装。

2.2 试验使用符合规定的压缩空气。

2.3 通入额定压力气体,保压 5min,应无泄漏。

2.4 插入式管接头在交变温度条件下的泄漏测试方法及其允许泄漏量(cm³/min)按 ISO 14743 规定。

3、耐压试验

3.1 试件按规定安装。

3.2 试验使用符合规定的压缩空气。

3.3 通入压缩空气至 1.5 倍额定压力,保压 2min,不应有任何可见的永久变形、裂纹、零件(包括密封件)失效和泄漏现象。判断泄漏的方法由制造商或用户自选。

4、重复装拆试验

4.1 试件按规定安装,然后拆下。

4.2 重复 4.1 的程序,反复装拆 5 次。

4.3 最后一次装拆后,按"2"规定进行泄漏试验。

5、拉拔分离测试(连接强度试验)

5.1 试件按规定安装,接管 L=100mm。

5.2 本测试在不通气压状态下进行。

5.3 试验在材料拉伸试验机上进行。如图 1 所示连接试件,然后将试件安装于拉伸机的夹具中,被测试件一端固定在拉伸机工作台上,另一端固定在拉伸机测试装置的移动机构上。以 1mm/s 的速率沿被测试件轴线施加拉伸载荷,直至表 1 中规定的值。被测试件应能承受规定的拉力而不出现脱落现象。

图 1 试件和接管连接方法示意图

图 1 试件和接管连接方法示意图

5.4 拉伸后被测试件再进行泄漏试验符合"2"要求。

表 1 用于拉拔分离性能测试的最低拉拔负荷

接管外径 /mm34681012162025
3240

拉伸力

N

软管

聚酰胺管

(PA)

60701201702503005008001200--

聚氨酯管

(PU)

2550100150200200360----
硬管钢管440
700120020002800510071009700

铝合金

铜合金

440
800120018003100

注:聚酰胺管推荐硬度邵氏硬度 D/1:63±2;聚氨酯管推荐硬度邵氏硬度 A/1:93±3。

6、额定压力验证测试

6.1 本测试用于验证制造商自行选定管接头的额定压力。

6.2 本测试用液体介质进行。

6.3 本测试的目的是保证产品工作的安全性。对内部零件、密封件在测试后的失效是允许的。试验时可以加固或拆除内部零件,也可采取某些措施防止试验时泄漏,但任何改进措施不得增加被测管接头本体的结构强度。

6.4 以恒定速率增加压力,达到 1.5 倍~2 倍额定压力后维持此压力水平,保压 1min,检查是否正常;再继续升压,达到下列规定的测试压力,保压 2min。在升压过程中和测试后,应无爆裂,永久变形和因渗透出现的外表湿润现象。各种管接头的测试压力规定如下:

a)插入式管接头的测试压力为 3 倍额定压力;

b)快换式管接头和其他形式的管接头的测试压力为 4 倍额定压力;

c)塑料材料为主体的管接头(插入式管接头除外)的测试压力为 5 倍额定压力。

7、弯曲振动试验

7.1 此项试验仅用于碳钢管、不锈钢管管接头,铜管、铝合金管管接头不做此项目试验。试验在振动试验台上进行,试件安装如图 2 所示。

图 2 弯曲振动试验安装示意图

图 2 弯曲振动试验安装示意图

接管尺寸按式(1)计算:

式(1)

:钢管 E=2.06×105N/mm²。

7.2 试验使用符合规定的压缩空气。

7.3 通入额定压力的气体,对封闭端施加径向振动,振动频率为 30Hz±5Hz,振幅为 0.5mm。

7.4 累计振动 1000 万次,不得出现松脱或损坏。

7.5 按规定进行泄漏试验。

8、脉冲振动试验

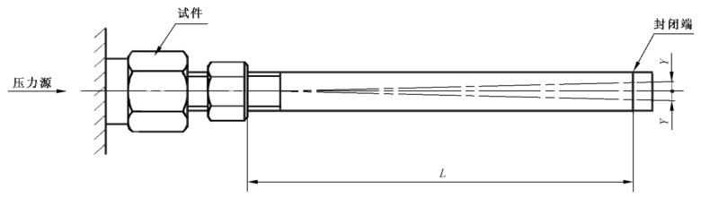
8.1 试验在脉冲振动试验台上进行,试件安装如图 3 所示。

图 3 脉冲振动试验安装示意图

图 3 脉冲振动试验安装示意图

接管尺寸和曲率半径按表 2 规定。

表 2 接管外径、曲率半径、接管长度、振幅对照表

单位为毫米

接管外径 D

曲率半径 r

接管长度 L

振幅 Y

42412010
63618015
84824020
106030025
127236030

8.2 试验使用符合规定的压缩空气。

8.3 以脉冲方式通入 60% 额定压力的气体,加压时间和释压时间均为 0.5s,其脉冲波形参考图 4。

图 4 脉冲振动试验脉冲波形参考图

图 4 脉冲振动试验脉冲波形参考图

8.4 在施加脉冲压力的同时,对封闭端施加轴向振动,振动频率为 1Hz,振幅按表 2 规定。

8.5 累计振动 500 万次,不得出现松脱或损坏。

8.6 按规定进行泄漏试验。

9、其他要求

9.1 带螺柱端的气动管接头与气口的连接及其要求应符合 GB/T 14038 的规定。

9.2 用于塑料管的插入式管接头的其他性能试验方法按 ISO 14743 的规定。

9.3 气动圆柱形快换接头的其他性能试验方法按 GB/T 22076 的规定。

10、外观检验

用目测法检验。外观应光滑,不得有伤痕、镀层起泡脱落、锈斑、毛刺等缺陷。产品的商标、规格或型号等标识应清晰牢固。