车用压缩氢气铝内胆碳纤维全缠绕气瓶的耐久性试验方法-「亿威仕」

车用压缩氢气铝内胆碳纤维全缠绕气瓶的耐久性试验方法

0     编辑:亿威仕 | 市场部     2025-10-11    

车用压缩氢气铝内胆碳纤维全缠绕气瓶的耐久性试验方法:

1、合格指标

在水压试验、跌落试验、表面损伤试验、环境试验、加速应力破裂试验、极限温度压力循环试验和常温静压试验过程中,气瓶不应泄漏或破裂;在剩余强度液压爆破试验中,气瓶爆破压力应大于或等于 0.8Pb0

2、试验方法

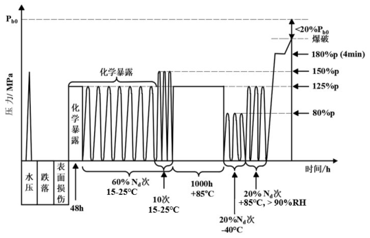
2.1 总体要求

随机抽取 1 只气瓶按 2.2~2.9 的规定顺序进行试验,如图 1 所示。

图 1 耐久性试验流程图

图 1 耐久性试验流程图

2.2 水压试验

按规定进行水压试验,将气瓶加压至 1.5 倍公称工作压力并保压至少 30s。气瓶制造单位已做过水压试验的气瓶可不进行此项试验。

2.3 跌落试验

按规定进行跌落试验。

2.4 表面损伤试验

试验步骤如下:

a)先按规定对气瓶进行裂纹制备;

b)将气瓶在小于或等于 -40℃ 的环境中至少静置 12h;

c)静置完成后应立即对气瓶按规定进行摆锤冲击。

2.5 环境试验

试验步骤如下:

a)按规定进行化学暴露,气瓶的总浸渍时间应大于 48h,并保持气瓶内压为 1.25 倍公称工作压力,环境温度为(20±5)℃;

b)在循环压力下限为 2MPa、上限大于或等于 1.25 倍公称工作压力,环境温度为(20±5)℃ 条件下对气瓶进行压力循环,压力循环频率应小于或等于 10 次/min,循环次数为 0.6Nd。在进行最后 10 次循环前,应将压力上限升高为 1.5 倍公称工作压力。压力循环结束后,移走玻璃棉衬垫并用清水冲洗气瓶表面。

2.6 加速应力破裂试验

将气瓶置于温度大于或等于 85℃ 的高温环境中,将气瓶加水压至 1.25 倍公称工作压力,并在此温度和压力下静置 1000h。

2.7 极限温度压力循环试验

先将气瓶置于温度小于或等于 -40℃ 的低温环境中,在压力下限为 2MPa、上限大于或等于 0.8 倍公称工作压力条件下进行压力循环试验,压力循环频率应小于或等于 10 次/min,循环次数为 0.2Nd,试验过程中应保证气瓶表面及瓶内试验介质的温度小于或等于 -40℃。再将气瓶置于温度大于或等于 85℃、相对湿度大于或等于 90% 的环境中,在压力下限为 2MPa,上限大于或等于 1.25 倍公称工作压力条件下进行压力循环试验,循环次数为 0.2Nd,试验过程中应保证气瓶表面及瓶内试验介质的温度大于或等于 85℃。

2.8 常温静压试验

按规定进行静压试验,试验压力为 1.8 倍公称工作压力,保压时间为 4min。

2.9 剩余强度液压爆破试验

按规定进行水压爆破试验。